Alarmanlagen-Forum - Alarmforum - Fachforum für Sicherheitstechnik

Normale Version: 561 MB100 keine Anzeige im Display
Sie sehen gerade eine vereinfachte Darstellung unserer Inhalte. Normale Ansicht mit richtiger Formatierung.
Moin,
hab folgendes Problem an einer MB100, die Anlage zeigt im Display nichts an, bei Bedienung piept das Display, dass eine Taste gedrückt wurde. Die Anlage lief vorher beim Kunden, wurden rückgebaut, dachte mir vielleicht kann ich die bei mir zuhause nochmals verwenden, besitze 2 der selben Bauart, beide haben das selbe Problem, die eine war ca. 10 Jahre ausser Betrieb, die andere lag hier jetzt ca. 5 Monate, vielleicht hat ja jemand ne Idee, evtl. sind die EProms sind fertig, sodass keine Software drauf ist. Achso, am Display leuchtet die Systemstörung und das Display piept auch deswegen.
Nur das ich es richtig verstehe. Mit Display meist du ein 2x 40 stelliges Textdisplay Art.Nr.: 012540 oder ?
Das Bedienteil mit der Klappe ist das.
Wenn das Display nur Systemstörung anzeigt, dann fehlt entweder der BUS2 oder aber es ist nicht programmiert.
Dann dürfte der aber nicht unseren Standardcode zum löschen/zurücksetzen nehmen oder? Weil er setzt die Anlage zurück und dann kommt die Systemstörung wieder?

Frage ist halt, ob die Anlage nach ner Zeit die Prog verliert? Weil das Bedienfeld ist das direkt an der EMZ selbst.
Ist es eine MB100 alt oder neu? Alt hat die CPU in der Tür, neu hat die CPU als Steckkarte auf der Anschlussplatine.

Wenn es eine alte MB100 ist, gibt es beim BUS2 eine Besonderheit. Per DIP kann man umschalten, ob der BUS2-Strang der CPU genutzt werden soll oder ob BUS2-Erweiterungskarten verbaut sind.

Ein Firmwareverlust bei der MB100 mag möglich sein, aber ich persönlich hab davon nicht gehört. Für die Esser 8007 gab es damals extra eine TI, die zum Austausch der EPROMs genötigt hat.
Die MB Classic ist eher für die leere Timekeeper-Batterie bekannt, aber dann würde die Anlage hochlaufen und in eine Störung springen, aber mit voll funktionsfähigem Display.
Das sind 2 alte MBs mit CPU hinter der Tür. Welcher DIP Schalter ist das? Die Anlage hat innen noch eine Erweiterungskarte für BUS1/2, sowie diverse MGs, es gehen 2 Flachbandkabel von der Erweiterungskarte zur CPU nach links. Obere Kabel geht oben an die CPU untere auf den unteren. Das Bedienteil ist an der Erweiterungskarte angeschlossen.
DIP S1. Muss auf On stehen, wenn du gesonderte BUS2-Anschlussplatinen hast. Bei Off wird der BUS2-Anschluss auf der Anschlussplatine genutzt.

Nachdem Umstellen ist ein Reset notwendig.

Wenn die Anlage den Parameterspeicher verloren hat, kann es sein, dass du das BT für die Inbetriebnahme auf Adresse 0 einstellen musst.
Also auf der CPU sind 3 DIPschalter, 1 On, 2 off, 3 on, wenn ich die Adr vom BT auf 0 stelle, dann ändert sich nichts, vorher wars auf 1
Du sprichst nur von zwei Flachbandkabeln auf der CPU, die zur Anschlusskarte gehen. Hast du auch ein drittes Kabel, welches zur ersten Erweiterungskarte geht und von da aus durch alle Erweiterungskarten durchgeschliffen wird?

Müsste der Anschluss direkt unter den beiden Kabeln zur Anschlusskarte sein, also der dritte von oben.
Von der CPU geht nur eine Erweiterungskarte/Anschlusskarte ab, da gehen beide Kabel drauf, in der EMZ ist kein TWG drinne. Das ist bei der anderen auch so. Ich kann gleich mal nen Foto hochladen.
Dann fehlt dir die I-BUS-Verbindung zwischen CPU und Erweiterungen.

Hast du in der Anlage ein Flachbandkabel, was du dafür nutzen kannst, also zwischen zwei der Erweiterungen, so dass du eine Verbindung zwischen der BUS-2-Erweiterung und CPU hinbekommst? BUS-1 oder ne BSA/MGE brauchst du jetzt erstmal nicht.

Wenn nicht, dann zieh das BT ab, steck es auf den BUS-2-Anschluss auf der Anschlusskarte, leg den DIP1 auf Off und bestrome die Anlage einmal neu. Dann solltest du überhaupt eine Regung hinbekommen.

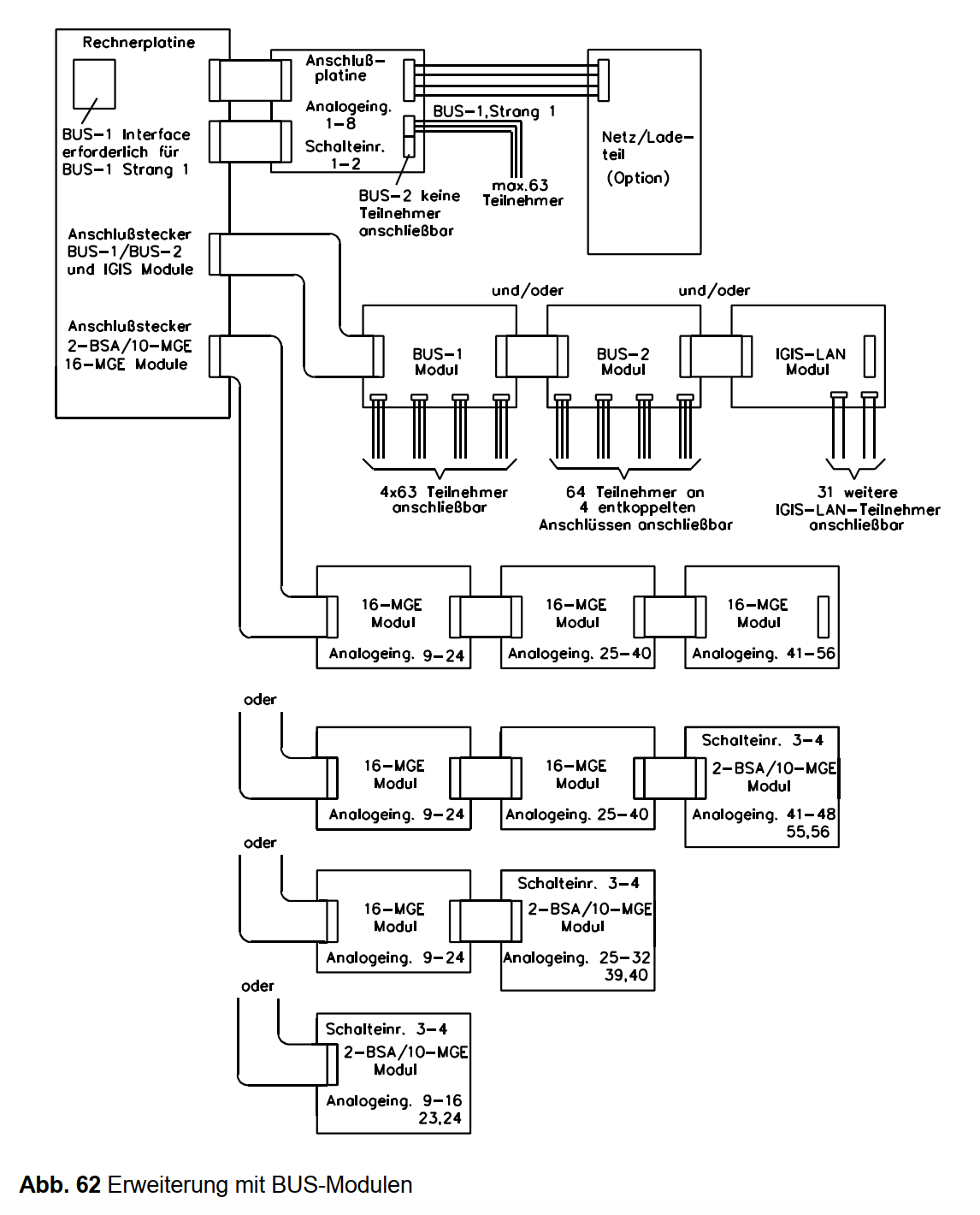
Hier mal das Anschlussschema für die Erweiterungen.

[attachment=5652]
Also ich habe wenn ich das richtig sehe nur die Anschlussplatine und die Rechnerplatine, das Bedienteil sitzt auf dem oberen Busanschluss. Die Flachbandkabel gehen beide so wie auf dem Bild gezeigt an die jeweiligen Module
Ok, dann muss der DIP 1 auf aus stehen.
Den hab ich auf off stehen, rührt sich aber immer noch nichts

Für den Start der Anlage sollte ja auch nur mit Netzspannung funktionieren oder? Nicht, dass es daran liegt
Dann weiß ich auch nicht. Ich hatte es mal, wie du es beschreibst, aber da war einfach nur kein BUS2-Signal verfügbar.

Leider kann man an den alten Anlagen ohne BUS2 nichts machen. Bei der MB100.10 hätte man noch über die RS232 einen Zugang zur Anlage.

Hast du mal alle Sicherungen geprüft, ob es denen gut geht? Dürfte aber keinen Unterschied machen, weil du ja Spannung am BT hast und die CPU hat keine gesonderte Absicherung. Die BUS-2-Sicherungen sind die unteren beiden im linken Viererblock auf der ANSK.
Liegt evtl. ein Anschlussproblem vor? Du hast zwei BUS-2-Anschlüsse, wobei der untere zusätzlich noch direkt unten drunter eine Zusatzspannungsversorgung hat. Beim oberen ist es 12V, GND, Daten, GND (von oben nach unten) und der unsere hat 12V, GND, Daten, GND, Zusatz-12V, GND.

Kommt aufs Netzteil an, die neueren Netzteile (etwa 10-15 Jahre nach der MB100 alt) brauchten in jedem Fall Netzspannung oder du musstest bei reinem Akkubetrieb einen Jumpstart machen. Aber dann hättest du noch nicht mal eine Störungs-LED, weil das Netzteil im Akkubetrieb ohne Jumpstart gar keine Spannung ausgeben würde.
Da gebe ich dir Recht, EMA hab ich nicht so viel mit zutun, leider. Aber der Versuch der Anlage nochmals Leben einzuhauchen besteht weiterhin, Sicherungen sind i.O., alle, Spannung liegt an, ich tausche nächste Woche oder morgen mal das Anschlusskabel vom BT. Auslesen wird, wie du sagtest nichts, dafür ist sie zu alt, selbst mit Akkus die ich hier noch hatte hat’s nichts gebracht.

Ich versuche es weiterhin und gebe dann mal eine Info, ob sich da noch was geregt hat.

Danke dir schon mal vielmals für die Hilfestellung
Referenz-URLs