|
Homematic HMW-IO-12-Sw14-DR an Terxon LX
|
|
16-11-2018, 18:08
Beitrag: #1
|
|||
|
|||
|
Homematic HMW-IO-12-Sw14-DR an Terxon LX
Hallo,
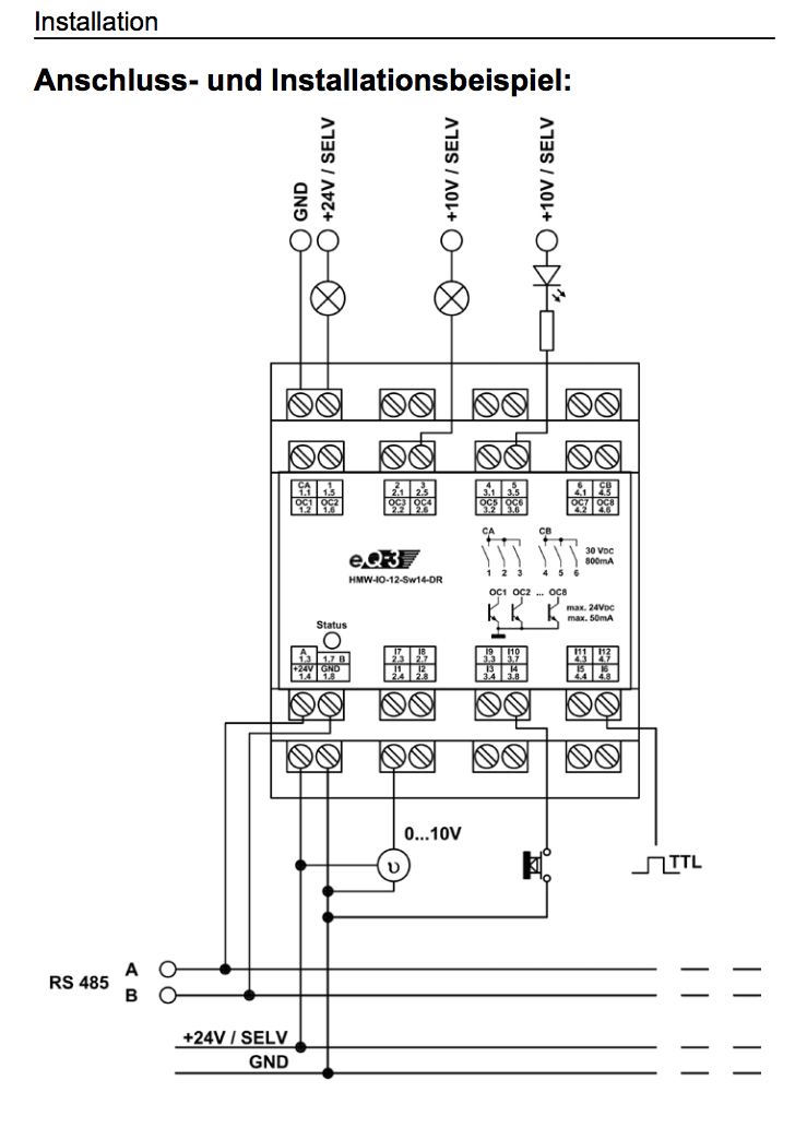
hier meine zweite Anfrage. Ich trenne die Themen lieber, sonst wird es unübersichtlich... Ich würde gern alle Fensterkontakte (NC, im Rahmen der Fenster montiert) sowohl einzeln pro Zone anbinden UND parallel an einem Homematic Wired RS485 I/O-Modul 12 Eingänge 14 Ausgänge HMW-IO-12-Sw14-DR anklemmen, um die Zustände der Fenster abzugreifen. Die Kontakte sind ohne Widerstände verbaut, da sie separate Sabo-Linien haben. Nun die Frage, ob es zu Störungen kommen kann, wenn ich die Kontakte parallel mit anklemme. Ich muss dazu die Masse des Schließerkontakt-Sensors mit dem jeweiligen Eingang verbinden und durch den Fensterkontakt unterbrechen/verbinden lassen. Anbei eine Schaltskizze des Herstellers zum Verständnis: Oder muss ich das zuvor galvanisch trennen? Wenn ja, gibts es da bereits was oder muss ich mir selbst was ausdenken und löten? Die Ein- und Ausgänge würde ich gern zusätzlich nutzen um Alarm scharf/unscharf mitzubekommen oder gar von Homematic aus die Anlage scharf7unscharf schalten, sofern dies technisch möglich ist. Kann ich dazu an die digitalen Kommunikationsausgänge? Freue mich auf Vorschläge! Danke! LG, funzel1607 |
|||
|
17-11-2018, 11:19
Beitrag: #2
|
|||
|
|||
|
RE: Homematic HMW-IO-12-Sw14-DR an Terxon LX
Sicher; man kann sich zu tode basteln, aber bei solchen Anforderungen in der Aufbauphase würde ich gleich auf einen anderen Hersteller umschwenken. Den ein paar Wochen später kommt dann KNX und der Wunsch mit App zu schalten. Damit baust dich um die LX herum mit Zusätzen voll die dann im Endeffekt keiner mehr schnallt und doch nicht unbedingt zuverlässig funktionieren. Von Zeitverschwendung und zusätzlichen Bastelkosten mal ganz abgesehen.
Nur so zum Überlegen bevor du wieder im LX-Kasten schraubend und lötend verschwindest.
11.Gebot: Du sollst die Alarmanlage nicht kombiniert mit einer Türverschlusseinrichtung deaktivieren. —- Fragen bitte immer ins Forum und nicht meinen Postkasten anfüllen. DANKE! |
|||
|
17-11-2018, 17:45
Beitrag: #3
|
|||
|
|||
|
RE: Homematic HMW-IO-12-Sw14-DR an Terxon LX
Hier berichtet ein User, dass es funktioniert wenn man einfach die Zoneneingänge mit den Homematic Eingängen verbindet:
http://www.alarmforum.de/Thread-Terxon-M...1#pid78371 mfg Sektionschef Abus Terxon SX+SG1800+BW8010+Monacor AS362 Jablotron Oasis80(JA-84)+JA-83M+JA-83P+JA-80PB+JA-81F+JA-80L Instar IN-5907HD |
|||
|
18-11-2018, 22:00
Beitrag: #4
|
|||
|
|||
|
RE: Homematic HMW-IO-12-Sw14-DR an Terxon LX
Zum Thema "Aufbauphase" kann ich aktuell nur sagen, dass Bereits zwei Sirenen an der Fassade, vier 8030 Bewegungsmelder und zwei Bedienterminals hängen und verdrahtet sind. Da würde ich jetzt SEHR ungern mir ein neues System zulegen, wo alles da ist
KNX ist ebenfalls raus, da ich via Homematic bereits das gesamte Haus ausgestattet habe und hier bereits alles via App etc. steuere. Daher auch mein Wunsch es damit zu verbinden, sofern es sinnvoll realisierbar ist. Letztendlich sind es ja nur "kleine" technische Fragen.Gerade das Thema mit der "fremden" Masse, die ich parallel zur Terxon schalten müsste, würde ich gern vorher geklärt haben, bevor ich was an der Platine zerschieße. Den anderen Beitrag hatte ich schon voller Hoffnung gelesen, allerdings ist von der MX die Rede, die anscheinend völlig anders verdrahtet wird (CCT1-8 vs. Z1-8 & T1-8). Oder reagiert eine der beiden Seiten von z.B. Z1 bzw. T1 genau so wie CCT1 und sie haben nur eine separate Masse oder was auch immer sie sich bei der MX teilen? Ich würde jetzt zumindest vermuten, dass der jeweils linke und rechte Anschluss passend zueinander sein müssen, damit man den "Circuit" auch bei einer FSL Verdrahtung nutzen kann. LG! |
|||
|
19-11-2018, 14:03
Beitrag: #5
|
|||
|
|||
|
RE: Homematic HMW-IO-12-Sw14-DR an Terxon LX
Hallo
Bei der MX sind jeweils die gemeinsamen Zonenanschlüsse(also die mittleren Klemmen von CCTx und CCTx+1) miteinander verbunden und haben auch eine Verbindung mit 0V, sind also richtige Masseanschlüsse. Wie es bei der LX ist weiss ich nicht aber du könntest es mit einem Multimeter durchmessen. Möglicherweise sind ja einer der Anschlüsse Zx ebenfalls untereinander verbunden. mfg Sektionschef Abus Terxon SX+SG1800+BW8010+Monacor AS362 Jablotron Oasis80(JA-84)+JA-83M+JA-83P+JA-80PB+JA-81F+JA-80L Instar IN-5907HD |
|||
|
27-05-2019, 14:42
Beitrag: #6
|
|||
|
|||
|
RE: Homematic HMW-IO-12-Sw14-DR an Terxon LX
Hallo zusammen,
es gab doch noch mehr Baustellen am Haus, die wichtiger waren, als die LX mit Homematic zu verheiraten. Nun bin ich aber wieder dabei meine Planung umzusetzen. Dabei habe ich erst einmal eine eigentlich einfache Frage: In den anderen Beiträgen wird ein 8-Kanal-Funkmodul von HM genutzt, welches über das selbe Netzteil der Terxon gespeist wird. Somit sehe ich wenig Bedenken die Masse der Terxon mit der Masse des Funkmoduls zu verbinden. In meinem Fall wird jedoch das HMW-IO Modul von einem separaten Netzteil befeuert. Kann ich da einfach beide Massen zusammenlegen oder muss ich sie voreinander schützen? Alternativ müsste ich die Terxon mit von dem selben Netzteil speisen wie die Homematic IO Komonenten, oder? Danke für die Hilfe |
|||
|
28-05-2019, 12:17
Beitrag: #7
|
|||
|
|||
|
RE: Homematic HMW-IO-12-Sw14-DR an Terxon LX
Ich habe noch mal nachgemessen. Ich habe nur auf der rechten Seite des "T" Kontaktes Durchgang unter den verschiedenen Zonen. Bei allen anderen steigt der Widerstand langsam an, je länger ich das Multimeter drauf lasse.
Die LX über das selbe Netzteil wie meinen Homematic IO zu betreiben kann ich allerdings knicken, da sie LX 22V AC aufnimmt und kein DC. Nun ist mir noch die Idee gekommen eine Platine zu entwerfen, die pro Kanal zwei Optokoppler hat. Mit dem Signal des jeweiligen Fensters würde ein Optokoppler den Kreis an der LX und einer den Kreis am IO schalten. Dann wäre es zumindest galvanisch von einander getrennt. Wäre nur die Frage, mit wie viel Volt ich die dünnen Äderchen der Fensterkontakte belasten kann. Sollte natürlich hoch genug sein um den Spannungsabfall auf 30 Meter zu kompensieren und den Koppler zu schalten ohne den Melder zu grillen ![]() Oder gibts sowas bereits zu kaufen? Danke! |
|||
|
|
| Möglicherweise verwandte Themen... | |||||
| Thema: | Verfasser | Antworten: | Ansichten: | Letzter Beitrag | |
| Homematic | Thomas K. | 4 | 4.927 |
01-12-2017 19:25 Letzter Beitrag: smith007 |
|
| Terxon MX und Homematic | fischx | 6 | 7.311 |
19-10-2017 09:33 Letzter Beitrag: fischx |
|
| Terxon zusätzlicher Schaltausgang, Homematic Sendemodul immer auf closed (HIGH Signal | jailbreaker07 | 1 | 2.980 |
10-09-2017 12:46 Letzter Beitrag: Sektionschef |
|
| Terxon MX an Homematic Schaltkontakt für internen Alarm | A-FA | 7 | 7.641 |
26-01-2017 10:39 Letzter Beitrag: Sektionschef |
|
| Terxon M, Relaiskarte & Homematic | mahoso | 6 | 7.382 |
04-06-2015 08:22 Letzter Beitrag: evertech |
|
Benutzer, die gerade dieses Thema anschauen: 1 Gast/Gäste
Suche
Mitglieder
Kalender
Hilfe




KNX ist ebenfalls raus, da ich via Homematic bereits das gesamte Haus ausgestattet habe und hier bereits alles via App etc. steuere. Daher auch mein Wunsch es damit zu verbinden, sofern es sinnvoll realisierbar ist. Letztendlich sind es ja nur "kleine" technische Fragen.